Passa al contenuto principale Salta alla ricerca Passa alla navigazione principale
Divertitevi a fare shopping su heizung24shop.de
heizung-24 - Quality since 1999
shipping cost in Germany 4,90€
ALWAYS FASTEST POSSIBLE DELIVERY
fast product support
Passa alla homepage

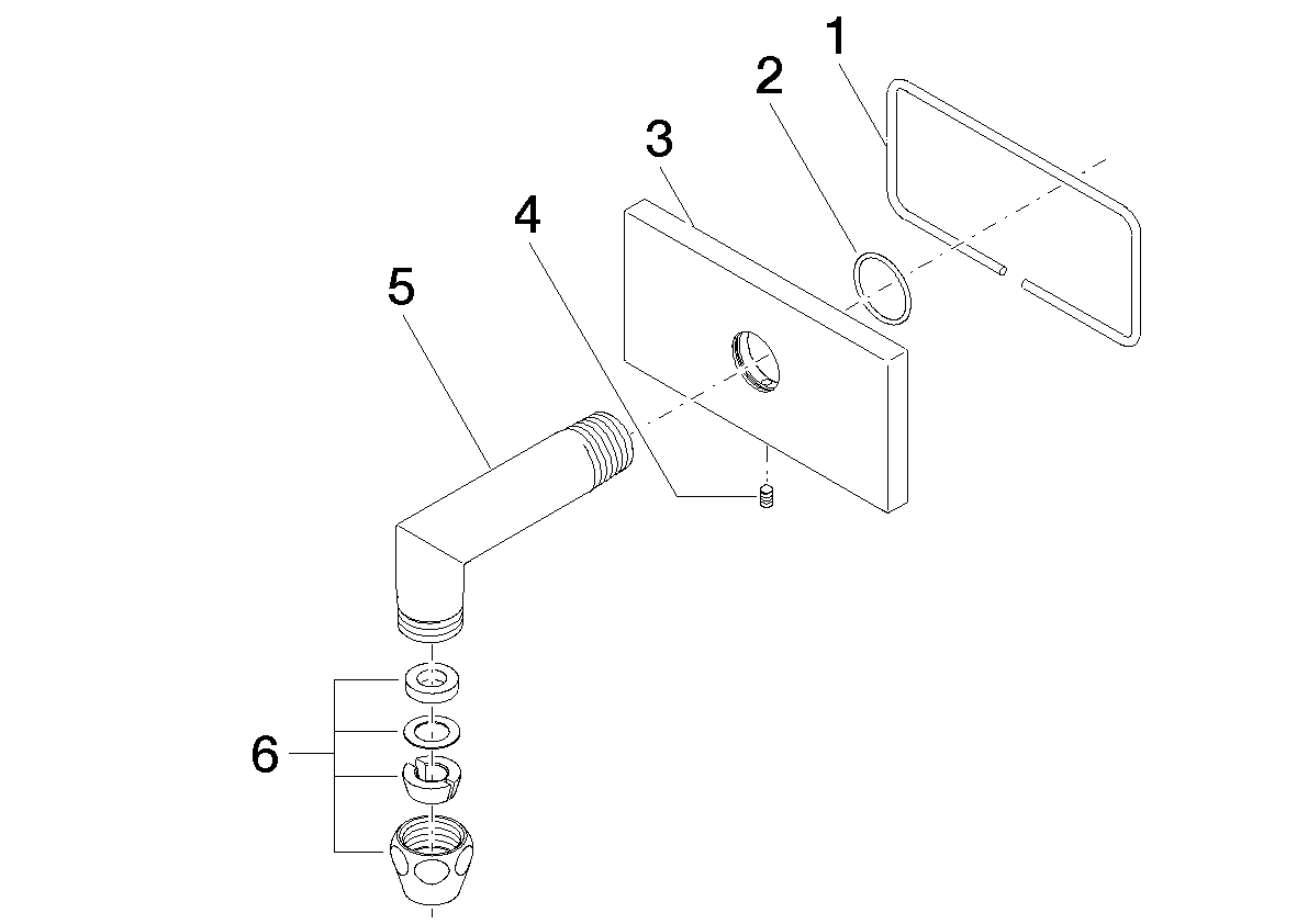
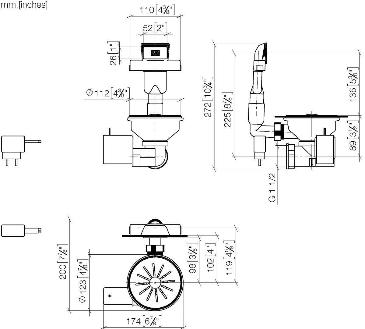
Zubehör